На собственном винограднике я использую двухплоскостные шпалеры, напоминающие латинскую букву V. Основу подобных шпалер составляют трубы поперечником 57-76 миллиметра и длиной 3 метра, вкопанные или забетонированные на глубину 80 сантиметров.
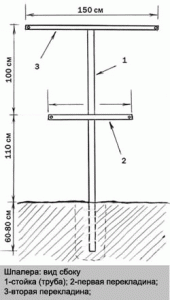
Трубы в ряду находятся на расстоянии 5 метров друг от друга. На высоте 110 сантиметров от земли I-я поперечина шириной 100 сантиметров (это или труба поперечником 20 миллиметров, или квадрат сечением 20 х 20 миллиметров. Выше, ч/з 1 метр от I-ой поперечины, приваривается II-ая того же диаметра, как и I-я поперечина, однако шириной 150 сантиметров (см. рис. ).

плодоносный побег Виноградана концах любой поперечины (на расстоянии приблизительно 15 миллиметров от края трубы или квадрата) высверливаются отверстия поперечником 7 миллиметров, ч/з которые пропускается проволока сечением 3,5 — 5 миллиметров. К этой проволоке впоследствии и будут подвязываться ростки винограда, растущие из почек плодовых лоз и сучка замещения.
Сами же плодовые лозы и рукава я креплю попутно земле на расстоянии 25-30 сантиметра от ее поверхности. Делаю это так. Беру кусок проволоки длиной 50 сантиметров и сечением 5-6 миллиметра, 1 конец сгибаю буквой Г и длинный конец (35-40 сантиметра) вбиваю в землю, а за излом шпагатом подвязываю рукав и лозу попутно земли и далее к I-ой проволоке. И так, последовательно, по всей длине рукава вбиваю 2-3 подобных крепежных «колышка» из проволоки.
Затем как завяжутся ягоды, без труда отвязываю и поднимаю рукав вместе с лозой и побегами и подвязываю уже именно к I-ой проволоке — поближе к солнцу.
Нужно учесть, что крайние (основные) трубы шпалеры вкапываются или бетонируются в землю под углом приблизительно 15о наружным сторонам. Это делается с той целью, чтоб затем, как мы натянем проволоку, крайние столбы не наклонялись внутрь шпалеры.
плодоносный побег Виноградадля того чтоб удержать трубы в вертикальном положении, я использую дополнительное устройство. В основной (крайней) трубе-стойке на высоте 80 сантиметров от земли просверливаю по центру отверстие поперечником 10-12 миллиметра, вставляю в него болт или шпильку и устанавливаю распорку: одним концом она упирается в землю (под место упора лучше подложить «башмак» — кирпич, обрезок доски и т.д.), а иным концом — в головку болта или окончания шпильки.

С течением времени, когда виноградные кустарники начнут давать полный урожай и проволока будет провисать, приходится ставить дополнительные подпорки. Для этого я использую деревянные стойки сечением 40х40 миллиметров и длиной 2 метра, которые ставлю по центру провисания проволоки. Так, я не даю гроздям опускаться до земли.
Устройство двухплоскостных шпалер и расположение рядов с севера на юг способствуют лучшему освещению солнцем виноградных кустарников, а значит, сокращается срок созревания лозы и ягод. Вот по какой причине начинающим виноградарям я советую не экспериментировать, а немедленно устанавливать шпалеры, конструкцию которых я лишь что описал.
И еще одно замечание: шпалеры возможно устанавливать как до, так и после посадки винограда.
